Product Summary
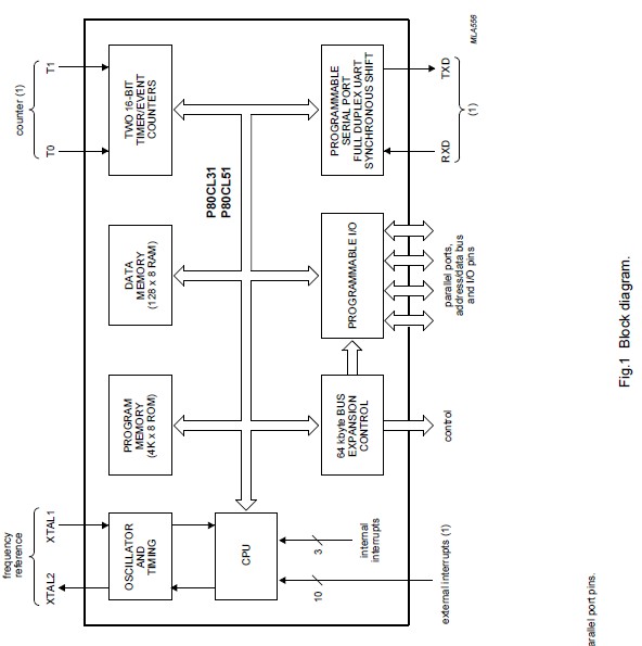
The P80CL51HFT is a low voltage 8-bit microcontrollers with UART consisting of over 100 instructions: 49 one-byte, 46 two-byte, and 16 three-byte. The device operates over a wide range of supply voltages and has low power consumption; there are two software selectable modes for power reduction: Idle and Power-down. The P80CL51HFT is especially suited for real-time applications such as instrumentation, industrial control, intelligent computer peripherals and consumer products.
Parametrics
Absolute maximum rating: (1)VDD, supply voltage: -0.5 to +6.5 V; (2)VI, input voltage on any pin with respect to ground (VSS): -0.5 to VDD + 0.5 V; (3)II, DC current on any input: -5.0 to +5.0 mA; (4)IO, DC current on any output: -5.0 to +5.0 mA; (5)Ptot, total power dissipation: 300 mW max; (6)Tstg, storage temperature: -65 to +150 °C; (7)Tamb, operating ambient temperature: -40 to +85 °C; (8)Tj, operating junction temperature: +125 °C max.
Features
Features: (1)Full static 80C51 Central Processing Unit; (2)8-bit CPU, ROM, RAM, I/O in a 40-lead DIP, 40-lead VSO or 44-lead QFP package; (3)128 bytes on-chip RAM Data Memory; (4)4 kbytes on-chip ROM Program Memory for P80CL51; (5)External memory expandable up to 128 kbytes: RAM up to 64 kbytes and ROM up to 64 kbytes; (6)Four 8-bit ports; 32 I/O lines; (7)Two 16-bit Timer/Event counters; (8)On-chip oscillator suitable for RC, LC, quartz crystal or ceramic resonator; (9)Thirteen source, thirteen vector, nested interrupt structure with two priority levels; (10)Full duplex serial port (UART); (11)Reduced power consumption through Power-down and Idle modes; (12)Wake-up via external interrupts at Port 1; (13)Frequency range: 0 to 16 MHz (P80C51: 3.5 MHz min.); (14)Supply voltage: 1.8 to 6.0 V (P80C51: 5.0 V ±10%); (15)Very low current consumption; (16)Operating ambient temperature range: -40 to +85 °C.
Diagrams

![]() |
![]() P80C151SB |
![]() Other |
![]() |
![]() Data Sheet |
![]() Negotiable |
|
||||
![]() |
![]() P80C152JA |
![]() Other |
![]() |
![]() Data Sheet |
![]() Negotiable |
|
||||
![]() |
![]() P80C251SB16 |
![]() |
![]() IC MPU 8-BIT 5V 16MHZ 40-DIP |
![]() Data Sheet |
![]() Negotiable |
|
||||
![]() P80C251TQ24 |
![]() |
![]() IC MPU 8-BIT 5V 24MHZ 40-DIP |
![]() Data Sheet |
![]() Negotiable |
|
|||||
![]() |
![]() P80C31BH1SF88 |
![]() |
![]() IC MPU 8BIT 5V 16MHZ 40DIP |
![]() Data Sheet |
![]() Negotiable |
|
||||
![]() |
![]() P80C31BH24SF88 |
![]() |
![]() IC MPU 8-BIT 5V 24MHZ 40-DIP |
![]() Data Sheet |
![]() Negotiable |
|
||||
(China (Mainland))








